グリッド検波    最新改定 2021.Jan.20 JH3FJA| 1.共立社書店刊 無線工學講座 第1巻 | |
| 2.共立社書店刊 無線工學講座 第12巻 | |
| 3.力書房刊 電気工学文庫 真空管入門 | |
| 4.通信用短波受信機 設計ノート | |
| 5.色々なグリッド検波受信回路 | 
 昭和8年 共立社書店刊 無線工學講座  第1巻 受信機械(非売品) より






 昭和9年 共立社書店刊 無線工學講座 第12巻 熱電子管其他放電管の各種応用(非売品) より


 昭和23年 力書房刊 おはなし電気工学文庫 4 真空管入門 より



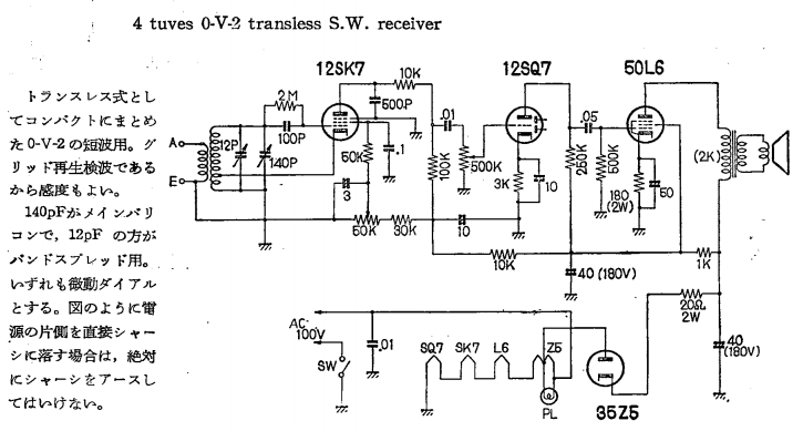
 通信用短波受信機 設計ノート 辻川利雄 より







 色々なグリッド検波受信回路










