珍レフレックスラジオ
8年前にFacebookグループ真空管式無線機において動作解明が提起された単球レフレックスラジオをシミュレーションしてみました。
1枚目が対象回路です。RF増幅・ダイオード検波後の低周波信号をサプレッサグリッドに入力し増幅する構成がユニークです。
2枚目はアンテナ入力からRF増幅した出力をコモン(comm)電位(R4抵抗の左端)の振れ(変化)で取り出すところまでを眺めた回路シミュレーションです。 信号元起電力10mVのAM変調信号(キャリア1MHz、ベースバンド信号1KHz正弦波)をアンテナ端子から入力し各点の時刻歴波形を観ています。出力(コモン電位の振れ)は 440mV(=(8.16V-7.28V)/2)、これが検波を受け持つ第2のLC共振回路にLリンク結合で渡ります(3枚目参照)。一方プレート側出力はレシーバ(ハイインピーダンス受話器)の大きなインダクタンスで高周波成分は阻止され低周波成分が主体の電流になっています。検波していないにベースバンド信号相似波形が得られるのは真空管の非線形特性によるものです。
3枚目は検波回路も付加したものですがダイオード検波後のサプレッサグリッドの挙動までを模擬できる球モデルがないのでプレートへの寄与は扱っていません。この辺りは作ってみて計測するしか手がありません。V(g4)がダイオード検波後のベースバンド信号です(第2のLC共振回路の効能でかなり綺麗)。



1枚目が対象回路です。RF増幅・ダイオード検波後の低周波信号をサプレッサグリッドに入力し増幅する構成がユニークです。
2枚目はアンテナ入力からRF増幅した出力をコモン(comm)電位(R4抵抗の左端)の振れ(変化)で取り出すところまでを眺めた回路シミュレーションです。 信号元起電力10mVのAM変調信号(キャリア1MHz、ベースバンド信号1KHz正弦波)をアンテナ端子から入力し各点の時刻歴波形を観ています。出力(コモン電位の振れ)は 440mV(=(8.16V-7.28V)/2)、これが検波を受け持つ第2のLC共振回路にLリンク結合で渡ります(3枚目参照)。一方プレート側出力はレシーバ(ハイインピーダンス受話器)の大きなインダクタンスで高周波成分は阻止され低周波成分が主体の電流になっています。検波していないにベースバンド信号相似波形が得られるのは真空管の非線形特性によるものです。
3枚目は検波回路も付加したものですがダイオード検波後のサプレッサグリッドの挙動までを模擬できる球モデルがないのでプレートへの寄与は扱っていません。この辺りは作ってみて計測するしか手がありません。V(g4)がダイオード検波後のベースバンド信号です(第2のLC共振回路の効能でかなり綺麗)。



フォレストのレシーバ回路
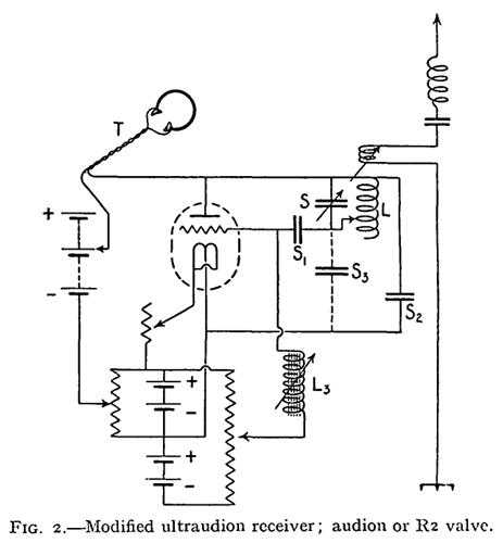
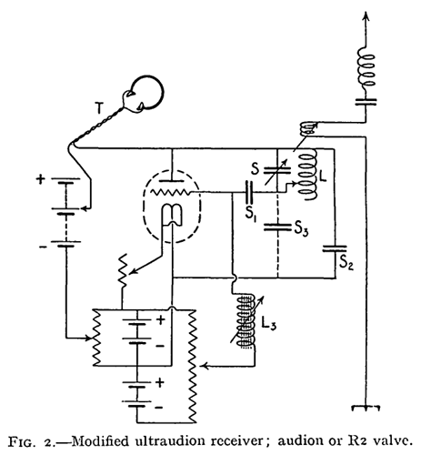
3極管およびその基本応用回路(検波回路、増幅回路、送信回路)の発明者であるデ・フォレストが改良を重ねた後期の Audion receiver の回路シミュレーションをやってみました。
emf(起電力)200uVのAM変調波(キャリア約2MHz、ベースバンド1KHzサイントーン)を当該回路アンテナ端子に入力し検波後のAF1KHzトーン成分のレベルをFFTで観測し比較しています。
当時のAudion(フォレスト3極管の商標名称)やアームストロングの実験管の特性は分からないので3A5(MTサイズ直熱3極管)の特性で代替しています。
--- デ・フォレスト ---
1枚目:後期Audion receiverの回路
2枚目:同上 回路シミュレーションモデル
3枚目:同上 検波出力のAFスペクトル
結果:1KHzトーンレベル 86uV、2KHz歪 6uV
--- アームストロング ---
4枚目:再生検波回路シミュレーションモデル
5枚目:同上 検波出力のAFスペクトル
結果:1KHzトーンレベル 62uV、2KHz歪 17uV
フォレスト、さすが電子回路の父です。検波レベルも大きいし歪も小さい。





emf(起電力)200uVのAM変調波(キャリア約2MHz、ベースバンド1KHzサイントーン)を当該回路アンテナ端子に入力し検波後のAF1KHzトーン成分のレベルをFFTで観測し比較しています。
当時のAudion(フォレスト3極管の商標名称)やアームストロングの実験管の特性は分からないので3A5(MTサイズ直熱3極管)の特性で代替しています。
--- デ・フォレスト ---
1枚目:後期Audion receiverの回路
2枚目:同上 回路シミュレーションモデル
3枚目:同上 検波出力のAFスペクトル
結果:1KHzトーンレベル 86uV、2KHz歪 6uV
--- アームストロング ---
4枚目:再生検波回路シミュレーションモデル
5枚目:同上 検波出力のAFスペクトル
結果:1KHzトーンレベル 62uV、2KHz歪 17uV
フォレスト、さすが電子回路の父です。検波レベルも大きいし歪も小さい。





